当前您在:主页 > tp钱包官网app下载
  • 新专利:主动快门保护iPhone麦克风和扬声器

    新专利:主动快门保护iPhone麦克风和扬声器

    标签: 2014-06-05
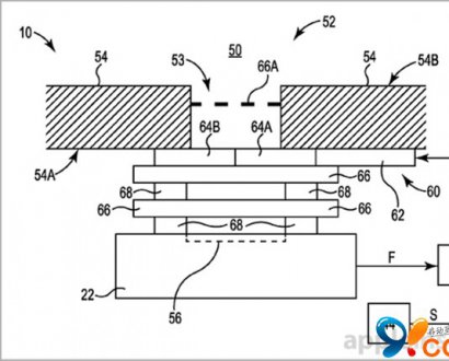
    美国专利商标局本周四公布了一项苹果提交的专利申请,这项专利主要涉及到的是保护声音零部件的技术方案,针对的是 iPhone 和 iPad 等移动设备。 美国专利和商标局(USPTO)本周四公布了...
  • 树人再放5c越狱视频:不希望越狱被误读

    树人再放5c越狱视频:不希望越狱被误读

    标签: 2014-06-05
    越狱大神树人在半个小时之前发布了一条最新的推特,他表示之前人们对于 iOS 7.1.1 越狱的解读都是错误的。而他在推文中提到了一个词:Cyberelevat0r。 我们最近都说越狱社区有点热闹,...
  • 黑客:可绕过iCloud激活锁激活任何iPhone

    黑客:可绕过iCloud激活锁激活任何iPhone

    标签: 2014-06-05
    来自荷兰和摩洛哥的黑客团队AquaXetine和MerrukTechnolog 表示,他们已经成功破解了苹果iCloud系统的激活锁功能。通过绕过激活锁,黑客们可以解锁偷来的iPhone,让小偷可以更好的的在黑市...
  • WWDC 2014应用更新 6月2日大会相关行程公布

    WWDC 2014应用更新 6月2日大会相关行程公布

    标签: 2014-06-05
    苹果今天对外宣布了今年WWDC 2014全球开发者大会的举办信息,确认将在6月2日周一举行主题演讲。本次主题演讲展示的具体时间是太平洋时间上午10点(北京时间6月3日凌晨1点),符合苹...
  • 传苹果将会在今年WWDC上公布新硬件产品

    传苹果将会在今年WWDC上公布新硬件产品

    标签: 2014-06-05
    目前比较确定的是苹果将公布Mac OS X 10.10 和 iOS 8, Healthbook 和相配的健康与健身追踪功能, 改进的苹果Maps 地图服务, 和iPad 上可能的分屏多任务功能。另外据内部人士称, 苹果也会在WWDC...
  • 苹果更新Safari7.0.4/6.1.4修复WebKit bug

    苹果更新Safari7.0.4/6.1.4修复WebKit bug

    标签: 2014-06-05
    苹果今天发布了 Safari 7.0.4 & 6.1.4 正式版, 用户可以通过 Mac App Store 更新。 这次升级是安全更新, 修补了 WebKit 相关的两个 bug。 第一个 bug 是访问恶意网站时候会允许运行任意代码或者导...
  • 疑似4.7寸iPhone 6屏幕背光组件谍照曝光?

    疑似4.7寸iPhone 6屏幕背光组件谍照曝光?

    标签: 2014-06-05
    用户顾Gooey 发布了几张被认为是下一代 iPhone 4.7寸显示屏背光组件的谍照。这些背光模组与 iPhone 5s 和 iPhone 5c 的很相似,所以真实性还是比较高的。 新浪微博继续成为各种未认证的 i...
  • 5.5寸版iPhone 6发布时间曝光 圣诞前后

    5.5寸版iPhone 6发布时间曝光 圣诞前后

    标签: 2014-06-05
    苹果的iPhone 6已经不是什么秘密了,但最近曝光的几乎都是4.7英寸版本的消息,5.5英寸版已经好久没有消息了。好在今天外媒在报道中提及了5.5英寸版的iPhone 6,并给出了它的发布时间。...
  • 苹果承诺将发布软件更新修复iMessage问题

    苹果承诺将发布软件更新修复iMessage问题

    标签: 2014-06-05
    在发送给 Re/code 网站的声明中,苹果官方正式承认了 iMessages 问题,该问题影响切换至其他手机的前 iPhone 用户。如果没有关闭 iMessages,在新手机上将无法接收到短信。 Re/code 报道对于...
  • 苹果或在WWDC推出一款全新的神秘设备

    苹果或在WWDC推出一款全新的神秘设备

    标签: 2014-06-05
    自从苹果在 2011 年将新款 iPhone 的发布时间移向秋季之后,过去三年的 WWDC 大会已经基本上变成了 iOS 和 OS X 的专属舞台。不过今年的 WWDC,我们也许会看到一款神秘设备的亮相。 5月2...
热门排行
精彩图文
友情链接: tp钱包 tp官网 tp下载 tp钱包官网 tp钱包下载 tp钱包app tp钱包最新版 TokenPocket APP 信任钱包 TokenPocket Wallet tp下载钱包